目前,市場上的激光切割機雕刻機所使用的電源器件或設備主要有變壓器、激光電源、控制電源、動力電源及輔機電源,均為獨立式設備,導致機器電控箱擁擠,客戶現場布局散亂、且接線較多,電線交叉錯綜,存在安全隱患。
基于此,有必要針對上述問題,提供一種結構緊湊、集成度高的集成式電源設備,作為激光切割機電源。
背景技術
激光切割是利用聚焦的高功率密度激光束照射工件,使被照射的材料迅速融化、汽化、燒蝕或達到燃點,同時借助于光束同軸的高速氣流吹除熔融物質,實現將工件割開,其適應任何材料的加工制造,尤其在一些有特殊精度和要求、特別場合和特種材料的加工制造方面起著無可替代的作用。
技術領域
本實用新型涉及電源設備技術領域,特別是涉及一種結構簡單的集成式電源設備。
公開(公告)號:CN209767373U,申請(專利權)人:廣東大族粵銘激光集團股份有限公司
實用新型內容
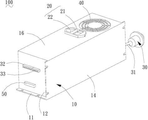
[1]一種集成式電源設備,包括機箱、內置于所述機箱的穩壓器、連接所述穩壓器的電源輸入機構、連接所述穩壓器的電源輸出機構、及連接所述機箱的散熱件;所述電源輸入機構設置輸入接口;所述輸入接口用于連接外部電源;所述電源輸出機構用于為激光切割機及輔機提供電能;所述電源輸出機構包括連接所述穩壓器的高壓輸出線,所述高壓輸出線連接激光切割機的激光管,所述高壓輸出線用于為激光切割機的激光管提供電能;所述散熱件用于排出所述機箱內的熱量。
[2]本實用新型的集成式電源設備通過在機箱內設置穩壓器、電源輸入機構、電源輸出機構及散熱件,集成度高;通過電源輸入機構提供電源,電源輸出機構是激光切割機電源及為輔機提供電能,保證激光切割機正常運作。本集成式電源設備結構緊湊、占用空間小、維護方便。
[3]在其中一個實施例中,所述輸入接口的輸入電壓范圍為AC 90V~260V。
[4]在其中一個實施例中,所述電源輸出機構包括第一輸出接口及第二輸出接口;所述第一輸出接口用于為激光切割機的控制及動力提供電能;所述第二輸出接口用于為激光切割機的輔機提供電能。
[5]在其中一個實施例中,所述電源輸入機構還包括連接所述輸入接口的開關;所述開關用于控制輸入接口的工作。
[6]在其中一個實施例中,還包括連接所述機箱的控制機構;所述控制機構與激光切割機的控制器信號連接,所述控制機構用于控制電源輸出機構的運作。
具體實施方式
文章篇幅有限,詳情請查詢知識產權局。
機器推薦:蕾絲激光切割機。采用集成式電源設備,減少機器輔機布線,客戶只需要提供總電源線接入端及氣源即可。專業的柔性材料切割控制軟件,除常規自動排版功能外,還支持爬坡式排版、多層排版等。收料區與加工區域分開設計,收料不停機,安全性更高。
主要用于蕾絲花邊,數碼印花,針織紗布等多種非金屬柔性材料的快速切割。
以上就是集成式電源設備,激光切割機電源的優選的全部內容。選購相關激光設備,歡迎來大族粵銘激光咨詢。






