在上一篇文章“技術創新是激光分板機品牌發展的基礎”中,我們提到了大族粵銘激光擁有激光設備相關的專利220多項。那么今天我們就來介紹其中一項專利技術:一種內嵌式激光切割設備。
公開(公告)號CN210306305U,申請(專利權)人:廣東大族粵銘激光集團股份有限公司
技術領域
[0001]本實用新型涉及激光切割設備技術領域,尤其是指一種內嵌式激光切割設備。
背景技術
[0002]激光切割機是將從激光器發射出的激光,經光路系統,聚焦成高功率密度的激光束。激光束照射到工件表面,使工件達到熔點或沸點,同時與光束同軸的高壓氣體將熔化或氣化金屬等切割廢料吹到廢料收集箱,然后風機將廢料收集箱的廢料抽出外界進行處理。現在的激光切割機的風機都是設置于激光切割機的外部,激光切割機占用空間大。同時,由于風機設置于激光切割機的外部,風機與激光切割機的距離較遠,風機就采用非直通式連接方式與激光切割機的廢料收集箱進行連通,非直通式連接方式是指風機與激光切割機的廢料收集箱之間通過多條風管連成的風道進行連通,多條風管連成的風道存在多個彎角。
風機采用非直通式連接方式與激光切割機的廢料收集箱進行連通會存在以下問題:1、風機從廢料收集箱所抽取的廢料容易堆積在風道的多個彎角處,從而堵塞風道,影響風機的抽風效果,嚴重時會導致風機損壞;2、廢料堵塞風道后,需要將多條風管拆卸下來才可以清理廢料,清理廢料的過程費時費力。
發明內容
[0003]本實用新型要解決的技術問題是提供一種內嵌式激光切割設備,該內嵌式激光切割設備占用空間小,風機采用直通式連接方式與收集箱連通,使得收集箱所收集的切割廢料不容易堵塞風管,不影響風機的抽風效果,延長風機的使用壽命,而且清理風管內的廢料的過程方便,省時省力。
[0004]為了解決上述技術問題,本實用新型采用如下技術方案:
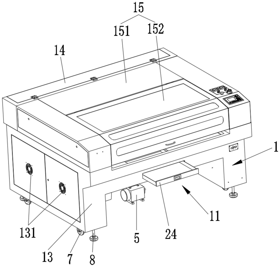
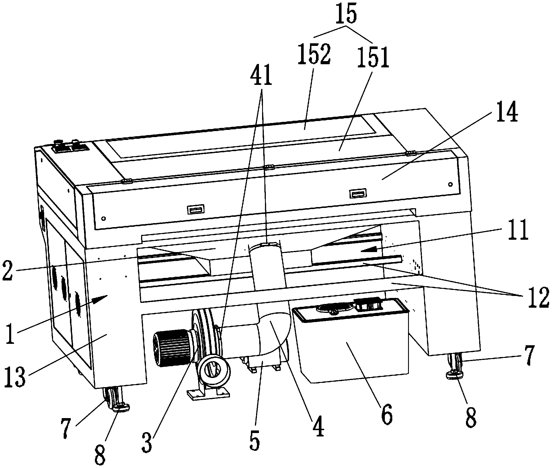
[0005]一種內嵌式激光切割設備,其包括機箱、收集箱、風機及風管;收集箱裝設于機箱并用于收集切割廢料,風管的一端與收集箱連通,風管的另一端與風機的進風口連通;機箱設置有容置槽,容置槽位于收集箱的下方,風管和風機均設置于機箱的容置槽內。
[0006]進一步地,所述內嵌式激光切割設備還包括用于與內嵌式激光切割設備配合工作的輔機,輔機設置于機箱的容置槽內。
[0007]進一步地,所述輔機包括用于向內嵌式激光切割設備提供壓縮空氣的氣泵和用于向內嵌式激光切割設備提供冷卻液的水箱組件,氣泵和水箱組件均設置于機箱的容置槽內。
[0008]進一步地,所述機箱設置有多條加強梁,多條加強梁的兩端分別連接于機箱的容置槽的槽壁,多條加強梁位于容置槽內。
[0009]進一步地,所述收集箱包括收集箱側壁和收集箱底部,收集箱底部連接于收集箱側壁的一端,收集箱側壁的另一端為入料口,切割廢料經由入料口掉入收集箱底部,收集箱側壁設置有風管連接口,風管連接口貫穿收集箱側壁,風管與風管連接口連通。
[0010]進一步地,所述收集箱呈倒錐形,收集箱的橫截面積自入料口往收集箱底部的方向逐漸減小。
[0011]進一步地,所述收集箱還包括抽屜,抽屜滑動設置于收集箱底部,抽屜用于承載切割廢料。
[0012]進一步地,所述收集箱側壁裝設有過濾網,過濾網遮蓋風管連接口。
[0013]進一步地,所述機箱裝設有多個腳輪。
[0014]進一步地,所述機箱裝設有多個腳杯。
[0015]本實用新型的有益效果:實際使用時,風管和風機均設置于機箱的容置槽內,即風管和風機嵌入機箱的內部,減少內嵌式激光切割設備的占地面積。同時,由于風機設置于機箱的容置槽內,縮短了風機與收集箱之間的距離,兩者之間的距離很近,風機就可以采用直通式連接方式與收集箱連通,直通式連接方式是指風機通過一條風管與收集箱直接連通,一條風管不存在多個彎角。風機采用直通式連接方式與風機采用非直通式連接方式相比,采用直通式連接方式的風機只需通過一條風管就可以將收集箱所收集的切割廢料抽出外界,切割廢料不容易堵塞風管,不影響風機的抽風效果,延長風機的使用壽命。當需要清理風管內的廢料時,只需要將風管拆卸下來即可清理,清理廢料的過程方便,省時省力。具體的,風管與收集箱的連接處及風管與風機的連接處均裝設有喉箍,喉箍能將風管的兩端分別緊固地鎖緊于收集箱和風機。
[0016]本申請的內嵌式激光切割設備占用空間小,風機采用直通式連接方式與收集箱連通,使得收集箱所收集的切割廢料不容易堵塞風管,不影響風機的抽風效果,延長風機的使用壽命,而且清理風管內的廢料的過程方便,省時省力。
具體實施方式:由于專利內容較多,實施詳情請查詢知識產權出版社專利。






